Các bản vẽ được đệ trình với Văn phòng Bằng sáng chế Hoa Kỳ cho thấy Apple đã thử nhiều thiết kế khác nhau cho bộ phận camera của iPhone 11 Pro như thế nào.
Kiến thức hay có thể bạn cần biết:
Một tuần sau khi Apple lần đầu tiên công bố iPhone 11 Pro vào năm 2019, công ty đã nộp đơn xin cấp bằng sáng chế cho thiết kế của mình, hiện đã được Văn phòng Bằng sáng chế Hoa Kỳ tiết lộ. Tuy nhiên, trong số các chi tiết tuyệt vời liên quan đến camera hiện tại, có nhiều biến thể trên mảng camera phía sau cho thấy sự thất vọng nếu nó được triển khai.
Ứng dụng bằng sáng chế số 20200221002 mô tả “Thiết bị điện tử cầm tay” không đề cập đến iPhone 11 Pro một lần nào trong 15.000 từ của nó, nhưng sau đó nó cũng không đề cập đến iPhone. Nó chỉ sử dụng từ “Phone” một lần duy nhất.
Do đó, có thể hình dung rằng đây thực sự là một ứng dụng bằng sáng chế cho một số thiết bị điện tử cầm tay trong tương lai. Nhưng nếu có, đó là một phong cách trông giống hệt iPhone 11 Pro với một số lựa chọn riêng.
Các tùy chọn đó dường như cũng hoàn toàn là các lựa chọn thẩm mỹ, vì Apple cố gắng nhận càng nhiều biến thể bằng sáng chế càng tốt. Bằng sáng chế nói: “Cần lưu ý rằng rằng bất kỳ hình dạng bề mặt nào dọc theo cạnh chuyển tiếp đều có thể được thực hiện như một lựa chọn thiết kế miễn là nó không ảnh hưởng đến hoạt động và chức năng của các mô-đun máy ảnh, mô-đun flash và mô-đun micrô”.
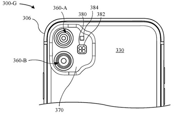
Sự khác biệt giữa trọng tâm tùy chọn về vị trí cụ thể của ống kính và phần nổi lên. Trong mỗi trường hợp, có một đèn flash và micrô, mặc dù đôi khi cả hai đều là hình vuông thay vì hình tròn cuối cùng của iPhone 11 Pro. Về cơ bản, sự khác biệt nằm ở các mô-đun máy ảnh, mô-đun flash và mô-đun micro với sự khác biệt kết hợp giữa hình dạng hình chữ nhật, hình vuông, hình tròn, hình tam giác và tương tự.
Bản vẽ chỉ hiển thị hai ống kính như với iPhone 11. Tất cả những lựa chọn còn lại gồm ba ống kính đặt ở các vị trí khác nhau, như hình chữ L hoặc các camera căn chỉnh xếp gần nhau theo các cách khác nhau.
Xét cho cùng, Apple đã thử mọi cách sắp xếp ống kính có thể. Mỗi ống kính riêng lẻ xuất hiện từ các bản vẽ mô tả chúng gần như giống iPhone cuối cùng. Chúng ghi nhận 20 nhà phát minh cho thiết kế, bao gồm Jony Ive, người đã rời Apple hai tháng sau khi ứng dụng này được nộp.



